保护薇乔缝线携载反义寡聚核苷酸的实验研究*
作者:曲乐丰 景在平 曹贵松
单位:第二军医大学长海医院血管外科,上海,200433
关键词:保护薇乔缝线;寡聚核苷酸;反义;内膜增生
第二军医大学学报991110 摘要 目的:探讨手术缝线携载反义基因片断的可能性及可行性,为术中血管吻合口局部转染反义基因提供新的途径。方法:保护薇乔缝线反复浸于反义核酸溶液中72 h,溴化乙锭(EB)标记,紫外灯下观察其吸附反义基因的情况。将吸附反义基因的缝线置于生理盐水中分别于不同时间点测其释放的D值,绘出体外控释曲线。同时取释放液进行电泳分析。以在荧光标记的核酸溶液中浸过的缝线直接行兔颈总动脉吻合,24 h取材制片荧光显微镜下观察。结果:吸附核酸的保护薇乔缝线经EB标记后在紫外灯下呈烧红的铁丝样,释放曲线提示2 h释放明显增加,36 h释放达高峰。电泳则可见随时间延长而逐渐变亮的电泳带。荧光显微镜下见吻合口附近血管壁全层散在荧光分布。结论:保护薇乔缝线可较大量携载反义基因片段,可于术中血管吻合时直接将反义基因转移至吻合口并缓慢释放。
, http://www.100md.com
中图分类号 R 654.3 文献标识码:A
Study on delivering antisense oligonucleotide by Coated Vicryl
Qu Lefeng, Jing Zaiping, Cao Guisong (Department of Vascular Surgery,Changhai Hospital,Second Military Medical University,Shanghai,200433)
ABSTRACT Objective:To testify the possibility and feasibility of delivering antisense oligonucleotide by thread (Coated Vicryl),to provide a new approach to antisense gene local delivery to vascular anastomosis.Methods:The Coated Vicryl was soaked in antisense oligonucleotide solution repeatedly for 72 h then marked with EB solution and observed under ultraviolet lamp.The thread carrying antisense gene emerged in normal saline and the value of optical density (D) at different time point,then the controlled release curve was made.Electrophoresis was also made with the released solution.The common carotid artery of rabbit was cut and anastomosed with thread soaked in fluorescein-labeled antisense oligonucleotide solution,the specimen was harvested 24 hours postoperation.Results:The Coated Vicryl carrying antisense oligonucleotide marked by EB was like a reddish iron wire,the releasing curve showed the releasing increased significantly at 2.0 hour,and the releasing peak was 36 hour postoperation. Electrophoresis indicated an increasing light band.Fluorescence microscope saw the scattered fluorescent staining in the panmura of artery near the anastomosis.Conclusion:The Coated Vicryl can largly carry antisense oligonucleotide and directly deliver it to anastomosis by slow releasing.
, 百拇医药
KEY WORDS coated vicryl thread; oligonucleotide, antisense; intimal hyperplasia
[Acad J Sec Mil Med Univ, 1999, 20(11): 854~856]
目前冠脉搭桥、动脉旁路术等各类血管手术甚至器官移植在技术操作上已不是难题,但血管吻合后的吻合口狭窄是手术失败的一个重要原因,早期多是由于血栓形成,中晚期通畅率差的主要原因是血管吻合口内膜增生,使近50%以上的患者在术后半年至2年内症状复发而需再次手术[1]。目前临床上多是应用抗增生药物来防治,但效果并不理想。基因治疗,尤其是反义基因治疗血管内膜增生表现出良好的前景[2]。但基因治疗中的一个主要难题是保证局部靶向性转染治疗基因[3],以避免全身应用的毒副作用,以及提高转染效率。我们设想若手术缝线可携载反义基因,则可在血管吻合时将反义基因直接导入吻合口,既达到了局部性和靶向性,避免了全身应用的毒副作用,又可在术中同时完成,避免了许多麻烦。本实验旨在探讨手术缝线携载反义基因的可能性及可行性。
, http://www.100md.com
1 方法和结果
1.1 材料 保护薇乔(Coated Vicryl)缝线系美国强生公司产品。反义核酸由上海生工生物工程公司在DNA自动合成仪上合成,为18 bp的反义c-myc序列:5′CAC GTTGAGGGGCAT3′,荧光标记者为3′端标记FITC。溴化乙锭(EB)溶液质量浓度为10 mg/ml,TE溶液的组成为1 mol/L 的Tris溶液(pH 8.0)和0.5 mmol/L 的EDTA溶液(pH 8.0),均购于上海华舜生物试剂公司。
1.2 实验动物 新西兰大白兔3只(海军医学研究所实验动物中心提供),体质量2.5~3.0 kg,均为雄性。
1.3 保护薇乔缝线荷电情况检测 将1根在毛皮上摩擦过的聚乙烯棒靠近8-0保护薇乔缝线,可见缝线被吸起,说明保护薇乔缝线表面带正电荷。
1.4 保护薇乔缝线吸附反义核酸的检测 将1号保护薇乔缝线3.0 cm浸于质量浓度为330 μg/μl的人工合成反义核酸溶液中24 h,晾干后再浸24 h,反复3次,共浸72 h后再晾干。将该缝线浸于EB溶液中1 s后,置紫外灯下观察,见缝线亮如烧红的铁丝(图1B),说明缝线上吸附有大量核酸。实验对照组缝线反复浸于TE溶液(pH 8.0)72 h后晾干,浸于EB溶液中1 s,未见发亮(图1A)。空白对照组缝线仅浸于EB溶液中1 s,亦未见发亮(图1C)。
, 百拇医药
图1 保护薇乔缝线吸附反义核酸的检测
Fig 1 Detection of antisense oligonucleotide
carrying by Coated Vicryl
A:Experimental control; B:Subject; C:Control
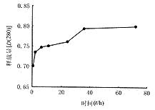
1.5 携载反义核酸缝线的体外控释 将5根8-0保护薇乔缝线同时浸于330 μg/μl的反义核酸溶液中24 h,取出晾干后再浸24 h,反复3次,共浸72 h。然后将5根缝线分别置于1.0 ml生理盐水中,37℃水浴震荡,分别于0.5,2.0,6.0,24,36及72 h取其溶液,在紫外分光光度计下于280 nm处测其D值,并绘出体外释放曲线(图2),可见2 h释放明显增加,36 h释放达高峰。
, http://www.100md.com
图2 保护薇乔吸附反义核酸后的体外释放曲线
Fig 2 The releasing curve of antisense
oligonucleotide carrying by Coated Vicryl
1.6 携载反义核酸缝线释放反义核酸的电泳证据 将1.4中5份释放液经醋酸浓缩后聚丙烯酰胺(PAGE)电泳,见随着时间延长泳带亮度逐渐增强(图3),说明其释放量逐渐增多。
图3 携载反义核酸缝线释放反义核酸的电泳图
Fig 3 Electrophoresis of antisense oligonucleotide
, 百拇医药
released from treated Coated Vicryl
1: 0.5 h; 2: 2.0 h; 3: 6.0 h; 4: 24 h; 5: 36 h; 6: 72 h
1.7 保护薇乔缝线携载及释放反义核酸的体内研究 3%戊巴比妥钠溶液(3 mg/ml)兔耳缘静脉注射麻醉, 消毒、铺单,颈正中切口暴露右侧颈总动脉,距环状软骨上下各1.0 cm处微型动脉夹阻断, 环状软骨水平切断颈总动脉, 以在荧光标记的反义核酸溶液中浸过的8-0保护薇乔缝线直接行对端间断吻合, 每个吻合口缝8针, 缝合切口后常规饲养。 24 h后同法麻醉取材, 冰冻切片置荧光显微镜下观察, 见吻合口附近血管壁全层均有散在绿色荧光分布, 说明FITC标记的反义c-myc被缝线携载并在血管吻合口处释放。
2 讨 论
我们在进行Northern blot时需将核酸转移至膜上,主要是因为膜带正的静电荷,而核酸则带负电荷。我们设想能否将此原理应用在手术缝线上,即若缝线带正电荷不也同样可以吸附带负电的核酸吗?我们以毛皮摩擦后的带负电的聚乙烯棒接近保护薇乔缝线,见缝线被吸起,证明此缝线带静电且为正电荷。从保护薇乔表面的化学成分分析,涂层中50%为硬脂酸钙,钙离子带正电荷。此缝线是否可吸附核酸呢?我们以人工合成的18 bp的反义核酸溶液反复浸泡缝线,最大量吸附后以可与核酸结合的EB标记,紫外灯下见其亮如烧红的铁丝,证明表面吸附了大量核酸。若将携载反义核酸的缝线直接用于血管吻合,那么它是否会释放呢?体外控释实验表明它可释放,2 h释放明显加快,36 h达释放高峰,PAGE电泳亦显示出类似的结果。更进一步的动物体内实验观察到吻合口附近血管壁全层有散在绿色荧光分布,说明FITC标记的反义c-myc被缝线携载后应用于血管缝合能在血管吻合口释放,保护薇乔缝线携载反义寡聚核苷酸应用于血管吻合中有确切的效果。
, http://www.100md.com
保护薇乔吸附反义寡核苷酸的机制可能系其表面的Ca2+与核酸本身的三价磷酸根离子或化学修饰基因(硫代磷酸修饰)中的负电基团结合,类似基因转染中的磷酸钙沉淀法。
需要说明的是为什么选择保护薇乔(Coated Vicryl)而不用最常用的Prolene :首先是我们未检测到Prolene缝线与带负电的聚乙烯棒相互吸引或排斥。其次是因为Coated Vicryl具有一些Prolene无法比拟的优点:(1)可水解吸收,减少体内异物,减少局部刺激从而降低局部反应;(2)无抗原性,引起组织反应小;(3)保护层消除了缝线的粗边缘,对组织的拖带和损伤小;(4)最近的临床应用表明其有抗感染作用,理论上推测可以降低早期血栓形成及中晚期内膜增生的发生率。但吸附了反义核酸的缝线用于血管吻合后是否可达到抑制内膜增生的目的尚待进一步研究。
*国家自然科学基金资助项目,批准号 39670707
, http://www.100md.com 作者简介:曲乐丰,男,1970年9月生,博士生
参考文献
1 Rutherford RB, Jones DN, Bergentsz SE, et al. Factors affecting the patency of infrainguinal bypass[J]. J Vasc Surg, 1988, 8(3): 236
2 Wagner RW. Gene inhibition using antisense oligodeoxynucleotides[J]. Nature, 1994,372(6504):333
3 Bennett MR, Schwartz SM. Antisense therapy for angioplasty restenosis:some critical considerations[J]. Circulation, 1995,92(7):1981
(1999-06-02收稿,1999-08-13修回), 百拇医药
单位:第二军医大学长海医院血管外科,上海,200433
关键词:保护薇乔缝线;寡聚核苷酸;反义;内膜增生
第二军医大学学报991110 摘要 目的:探讨手术缝线携载反义基因片断的可能性及可行性,为术中血管吻合口局部转染反义基因提供新的途径。方法:保护薇乔缝线反复浸于反义核酸溶液中72 h,溴化乙锭(EB)标记,紫外灯下观察其吸附反义基因的情况。将吸附反义基因的缝线置于生理盐水中分别于不同时间点测其释放的D值,绘出体外控释曲线。同时取释放液进行电泳分析。以在荧光标记的核酸溶液中浸过的缝线直接行兔颈总动脉吻合,24 h取材制片荧光显微镜下观察。结果:吸附核酸的保护薇乔缝线经EB标记后在紫外灯下呈烧红的铁丝样,释放曲线提示2 h释放明显增加,36 h释放达高峰。电泳则可见随时间延长而逐渐变亮的电泳带。荧光显微镜下见吻合口附近血管壁全层散在荧光分布。结论:保护薇乔缝线可较大量携载反义基因片段,可于术中血管吻合时直接将反义基因转移至吻合口并缓慢释放。
, http://www.100md.com
中图分类号 R 654.3 文献标识码:A
Study on delivering antisense oligonucleotide by Coated Vicryl
Qu Lefeng, Jing Zaiping, Cao Guisong (Department of Vascular Surgery,Changhai Hospital,Second Military Medical University,Shanghai,200433)
ABSTRACT Objective:To testify the possibility and feasibility of delivering antisense oligonucleotide by thread (Coated Vicryl),to provide a new approach to antisense gene local delivery to vascular anastomosis.Methods:The Coated Vicryl was soaked in antisense oligonucleotide solution repeatedly for 72 h then marked with EB solution and observed under ultraviolet lamp.The thread carrying antisense gene emerged in normal saline and the value of optical density (D) at different time point,then the controlled release curve was made.Electrophoresis was also made with the released solution.The common carotid artery of rabbit was cut and anastomosed with thread soaked in fluorescein-labeled antisense oligonucleotide solution,the specimen was harvested 24 hours postoperation.Results:The Coated Vicryl carrying antisense oligonucleotide marked by EB was like a reddish iron wire,the releasing curve showed the releasing increased significantly at 2.0 hour,and the releasing peak was 36 hour postoperation. Electrophoresis indicated an increasing light band.Fluorescence microscope saw the scattered fluorescent staining in the panmura of artery near the anastomosis.Conclusion:The Coated Vicryl can largly carry antisense oligonucleotide and directly deliver it to anastomosis by slow releasing.
, 百拇医药
KEY WORDS coated vicryl thread; oligonucleotide, antisense; intimal hyperplasia
[Acad J Sec Mil Med Univ, 1999, 20(11): 854~856]
目前冠脉搭桥、动脉旁路术等各类血管手术甚至器官移植在技术操作上已不是难题,但血管吻合后的吻合口狭窄是手术失败的一个重要原因,早期多是由于血栓形成,中晚期通畅率差的主要原因是血管吻合口内膜增生,使近50%以上的患者在术后半年至2年内症状复发而需再次手术[1]。目前临床上多是应用抗增生药物来防治,但效果并不理想。基因治疗,尤其是反义基因治疗血管内膜增生表现出良好的前景[2]。但基因治疗中的一个主要难题是保证局部靶向性转染治疗基因[3],以避免全身应用的毒副作用,以及提高转染效率。我们设想若手术缝线可携载反义基因,则可在血管吻合时将反义基因直接导入吻合口,既达到了局部性和靶向性,避免了全身应用的毒副作用,又可在术中同时完成,避免了许多麻烦。本实验旨在探讨手术缝线携载反义基因的可能性及可行性。
, http://www.100md.com
1 方法和结果
1.1 材料 保护薇乔(Coated Vicryl)缝线系美国强生公司产品。反义核酸由上海生工生物工程公司在DNA自动合成仪上合成,为18 bp的反义c-myc序列:5′CAC GTTGAGGGGCAT3′,荧光标记者为3′端标记FITC。溴化乙锭(EB)溶液质量浓度为10 mg/ml,TE溶液的组成为1 mol/L 的Tris溶液(pH 8.0)和0.5 mmol/L 的EDTA溶液(pH 8.0),均购于上海华舜生物试剂公司。
1.2 实验动物 新西兰大白兔3只(海军医学研究所实验动物中心提供),体质量2.5~3.0 kg,均为雄性。
1.3 保护薇乔缝线荷电情况检测 将1根在毛皮上摩擦过的聚乙烯棒靠近8-0保护薇乔缝线,可见缝线被吸起,说明保护薇乔缝线表面带正电荷。
1.4 保护薇乔缝线吸附反义核酸的检测 将1号保护薇乔缝线3.0 cm浸于质量浓度为330 μg/μl的人工合成反义核酸溶液中24 h,晾干后再浸24 h,反复3次,共浸72 h后再晾干。将该缝线浸于EB溶液中1 s后,置紫外灯下观察,见缝线亮如烧红的铁丝(图1B),说明缝线上吸附有大量核酸。实验对照组缝线反复浸于TE溶液(pH 8.0)72 h后晾干,浸于EB溶液中1 s,未见发亮(图1A)。空白对照组缝线仅浸于EB溶液中1 s,亦未见发亮(图1C)。
, 百拇医药
图1 保护薇乔缝线吸附反义核酸的检测
Fig 1 Detection of antisense oligonucleotide
carrying by Coated Vicryl
A:Experimental control; B:Subject; C:Control
1.5 携载反义核酸缝线的体外控释 将5根8-0保护薇乔缝线同时浸于330 μg/μl的反义核酸溶液中24 h,取出晾干后再浸24 h,反复3次,共浸72 h。然后将5根缝线分别置于1.0 ml生理盐水中,37℃水浴震荡,分别于0.5,2.0,6.0,24,36及72 h取其溶液,在紫外分光光度计下于280 nm处测其D值,并绘出体外释放曲线(图2),可见2 h释放明显增加,36 h释放达高峰。
, http://www.100md.com
图2 保护薇乔吸附反义核酸后的体外释放曲线
Fig 2 The releasing curve of antisense
oligonucleotide carrying by Coated Vicryl
1.6 携载反义核酸缝线释放反义核酸的电泳证据 将1.4中5份释放液经醋酸浓缩后聚丙烯酰胺(PAGE)电泳,见随着时间延长泳带亮度逐渐增强(图3),说明其释放量逐渐增多。
图3 携载反义核酸缝线释放反义核酸的电泳图
Fig 3 Electrophoresis of antisense oligonucleotide
, 百拇医药
released from treated Coated Vicryl
1: 0.5 h; 2: 2.0 h; 3: 6.0 h; 4: 24 h; 5: 36 h; 6: 72 h
1.7 保护薇乔缝线携载及释放反义核酸的体内研究 3%戊巴比妥钠溶液(3 mg/ml)兔耳缘静脉注射麻醉, 消毒、铺单,颈正中切口暴露右侧颈总动脉,距环状软骨上下各1.0 cm处微型动脉夹阻断, 环状软骨水平切断颈总动脉, 以在荧光标记的反义核酸溶液中浸过的8-0保护薇乔缝线直接行对端间断吻合, 每个吻合口缝8针, 缝合切口后常规饲养。 24 h后同法麻醉取材, 冰冻切片置荧光显微镜下观察, 见吻合口附近血管壁全层均有散在绿色荧光分布, 说明FITC标记的反义c-myc被缝线携载并在血管吻合口处释放。
2 讨 论
我们在进行Northern blot时需将核酸转移至膜上,主要是因为膜带正的静电荷,而核酸则带负电荷。我们设想能否将此原理应用在手术缝线上,即若缝线带正电荷不也同样可以吸附带负电的核酸吗?我们以毛皮摩擦后的带负电的聚乙烯棒接近保护薇乔缝线,见缝线被吸起,证明此缝线带静电且为正电荷。从保护薇乔表面的化学成分分析,涂层中50%为硬脂酸钙,钙离子带正电荷。此缝线是否可吸附核酸呢?我们以人工合成的18 bp的反义核酸溶液反复浸泡缝线,最大量吸附后以可与核酸结合的EB标记,紫外灯下见其亮如烧红的铁丝,证明表面吸附了大量核酸。若将携载反义核酸的缝线直接用于血管吻合,那么它是否会释放呢?体外控释实验表明它可释放,2 h释放明显加快,36 h达释放高峰,PAGE电泳亦显示出类似的结果。更进一步的动物体内实验观察到吻合口附近血管壁全层有散在绿色荧光分布,说明FITC标记的反义c-myc被缝线携载后应用于血管缝合能在血管吻合口释放,保护薇乔缝线携载反义寡聚核苷酸应用于血管吻合中有确切的效果。
, http://www.100md.com
保护薇乔吸附反义寡核苷酸的机制可能系其表面的Ca2+与核酸本身的三价磷酸根离子或化学修饰基因(硫代磷酸修饰)中的负电基团结合,类似基因转染中的磷酸钙沉淀法。
需要说明的是为什么选择保护薇乔(Coated Vicryl)而不用最常用的Prolene :首先是我们未检测到Prolene缝线与带负电的聚乙烯棒相互吸引或排斥。其次是因为Coated Vicryl具有一些Prolene无法比拟的优点:(1)可水解吸收,减少体内异物,减少局部刺激从而降低局部反应;(2)无抗原性,引起组织反应小;(3)保护层消除了缝线的粗边缘,对组织的拖带和损伤小;(4)最近的临床应用表明其有抗感染作用,理论上推测可以降低早期血栓形成及中晚期内膜增生的发生率。但吸附了反义核酸的缝线用于血管吻合后是否可达到抑制内膜增生的目的尚待进一步研究。
*国家自然科学基金资助项目,批准号 39670707
, http://www.100md.com 作者简介:曲乐丰,男,1970年9月生,博士生
参考文献
1 Rutherford RB, Jones DN, Bergentsz SE, et al. Factors affecting the patency of infrainguinal bypass[J]. J Vasc Surg, 1988, 8(3): 236
2 Wagner RW. Gene inhibition using antisense oligodeoxynucleotides[J]. Nature, 1994,372(6504):333
3 Bennett MR, Schwartz SM. Antisense therapy for angioplasty restenosis:some critical considerations[J]. Circulation, 1995,92(7):1981
(1999-06-02收稿,1999-08-13修回), 百拇医药